您现在所在位置: 主页 > 新闻中心 > 公司资讯

公司资讯

Company information

行业动态

Industry dynamics

常见问题

Common Problem

【御驾通行车智慧化预警】-坚持科技兴安,,,强化智慧预警

发布日期:2024-04-17 16:35 浏览次数:

坚持科技兴安,,,强化智慧预警

 

2022年,,,党的二十大报告提出要“加快建设制造强国、、、质量强国、、、、航天强国、、、交通强国、、、、网络强国、、、数字中国”。。。推动交通强国建设,,,已是我国交通发展的重要任务。。

在交通强国发展战略的推动下,,,2020 年 4 月,,江苏省发布的《交通强国江苏方案》,,,,提出要构建安全、、便捷、、高效、、绿色、、、、经济的现代化综合交通体系,,,, 这是交通强省建设的价值取向。。。。方案提出,,,到 2035 年,,,江苏将基本建成交通强省。。。。将“打造平安交通发展样板——重点实施科技兴安工程”列为一项重要举措。。

江苏省交通运输厅公路事业发展中心贯彻落实样板工作要求,,将科技兴安样板路创建工作列入全省,,要求大力实施科技兴安工程。。。。

通过智能监测、、、、御驾通-行车智慧化预警等科技手段提升公路安全保障能力,,,,每年打造一批富有区域特色、、、、主题特色的科技兴安示范路。。

坚持科技兴安,,强化智慧预警(图1)

以此为背景,,,我公司进行了江苏省 G104 国道宜兴段的科技兴安示范工程项目的总体设计。。对该路段的路况勘测、、现状梳理、、问题分析,,,,通过智能感知、、、、动态分析、、、智能决策、、、智慧服务的思路,,,,以低功耗传感、、、、大数据分析、、、、边缘计算、、、、声光预警等为技术手段,,因地制宜的解决道路安全工作痛点,,实现路段的全方位全过程管理,,,,构建科学先进的安全保障体系,,不断提升公路基础设施主动安全智能防控能力和交通运行安全水平。。。。

江苏省经济活跃,,,,人口密集,,,路网发达,,交通流量大,,,尤以集镇路段、、、、平面交叉口、、隧洞等路段车流巨多,,,,交通基础设施安全风险高,,,,服役压力大。。由于车辆超限超载、、、、灾害天气、、、、桥梁隧洞等使用年限因素影响,,,增大了行车安全隐患。。。同时,,车流横向干扰较为严重,,,,机动车、、、非机动车未按规定让行等易造成交通事故发生。。

宜兴位于长三角区域的繁荣中心地带,,,,与浙江、、、安徽两省交界,,在江苏的整体地理版图中又呈现了非常重要的地理位置和特定区位优势,,,G104 作为重要交通要道,,,,同时也是事故发生频次较高的一个路段,,,,备受关注。。。

因此,,,,为保障道路安全,,,,进行道路安全性能提升,,,综合考虑 G104 国道宜兴段环岛的交通荷载流量情况、、、、车辆运行状态、、、、道路气象状态、、、交通事故情况等原因。。。寻找主因,,,重点防控,,,,智能建造,,,,改善目前道路现状,,,,提升道路安全性能,,,,决定引进御驾通-智慧化行车安全预警系统。。。。

坚持科技兴安,,,强化智慧预警(图2)


G104引进御驾通环岛路段】


 坚持科技兴安,,,强化智慧预警(图3)

御驾通】-智慧化行车安全预警系统采用物联网、、、云计算、、、人工智能、、大数据等技术,,,在弯道入弯处安装智慧化行车预警系统,,,通过雷达微波检测车辆采集技术,,,实时获取过往车辆速度和行驶数据,,,,发送到对向车道入弯处的弯道智能预警系统的显示屏上。。。通过预警屏和语音喊话,,驾驶员在进入弯道前就能了解到前方对向车道的车辆行驶信息,,,,对驾驶员有警示和提示的作用。。。。

同时系统还具备远程视频监控、、、、超速预警抓拍、、、、气象监测、、事故分析、、、、地质灾害预警功能。。。

坚持科技兴安,,,强化智慧预警(图4)

【系统结构组成】


坚持科技兴安,,强化智慧预警(图5)

(1) 弯道安全预警

坚持科技兴安,,,强化智慧预警(图6)

在弯道处设置预警系统以声光提示来往车辆减速行驶,,减少事故发生。。。同时可与事故气象、、、视频等反馈内容进行联动。。。。

(2) 视频远程监控(G104国道宜兴段)

坚持科技兴安,,强化智慧预警(图7)

加装视频监控系统,,,管理人员远程监控弯道路段车辆和周围环境。。。。

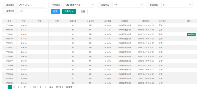
(3) 超速统计预警

坚持科技兴安,,,,强化智慧预警(图8)

通过雷达系统对过往车辆行驶速度进行监测对超速车辆进行抓拍,,同时将监测数据上传至平台进行统计、、、、预警。。

(4) 气象智能分析(可扩展功能)

坚持科技兴安,,,强化智慧预警(图9)坚持科技兴安,,强化智慧预警(图10)


  气象数据(雨、、、雪、、、、大雾、、、、结冰等极端天气)识别分析,,,数据实时上传至云平台推送异常路况预警信息

(5) 事故智能识别(可扩展功能)

坚持科技兴安,,,,强化智慧预警(图11)

区域交通事故识别分析,,数据(影响资料)实时上传至云平台。。。。同时联动预警系统,,,提醒来往车辆以免出现二次事故

(6) 御驾通-行车智慧预警平台大数据(G104国道宜兴段)


坚持科技兴安,,,,强化智慧预警(图12)

所有监测数据通过5G网络,,,实时上传至云服务器,,,管理部门可通过云平台可查看所有道路任一时间段行车数据:

坚持科技兴安,,,强化智慧预警(图13)

-雷达监测数据

可按照日期进行行车数据统计:

坚持科技兴安,,,,强化智慧预警(图14)

-过车量日期统计

可分段分析交通数据高峰时段及交通量走势:

坚持科技兴安,,,,强化智慧预警(图15)

-过车量时间统计

进行过车辆点位统计:

坚持科技兴安,,,,强化智慧预警(图16)

-过车量点位统计

御驾通-智慧化行车安全预警系统引进帮助江苏省宜兴市公路事业发展中心实现了道路管理的智慧化升级,,,高度符合文件要求。。

以国家、、、、省相关规划为指导,,,无锡市人民政府办公室发布《综合交通运输体系发展规划》,,,,提出依据无锡“新时代社会主义现代化建设先行示范区”发展目标,,坚持交通示范先试先行。。

坚持创新发展,,深化重点领域和关键环节改革,,增强交通运输发展内在动力,,强化科技创新与智慧赋能,,,,推动交通科技向促创新、、、、促产业转型,,,,以智慧交通的新成效增添发展动能。。

提出构建智慧先进的持续发展创新体系,,持续提升交通信息化水平的建设方案,,,,并以《》要求为建设目标。。

引进御驾通-智慧化行车安全预警系统,,开展智慧公路试点示范,,全要素感知、、、、全方位服务、、全过程管控、、、、全数字运营、、、车路协同等,,,实现安全提升、、、效率提升和服务提升,,,恶劣天气、、、复杂环境下的道路交通事故率下降20%以上,,,,关键节点及路段的通行效率提升 20%以上,,实现公路建设、、、管理、、、、养护、、、、运营全生命周期的数字化与智能化,,,保证了宜兴市人民生命财产安全。。。。

 

G104国道宜兴段设备展示:

坚持科技兴安,,,强化智慧预警(图17)

坚持科技兴安,,,强化智慧预警(图18)

坚持科技兴安,,,,强化智慧预警(图19)


15029029678
站点地图